这里有最新的使用文档和教程
为什么我的域名在某些地方不能访问,解析到127.0.0.1或者0.0.0.0?
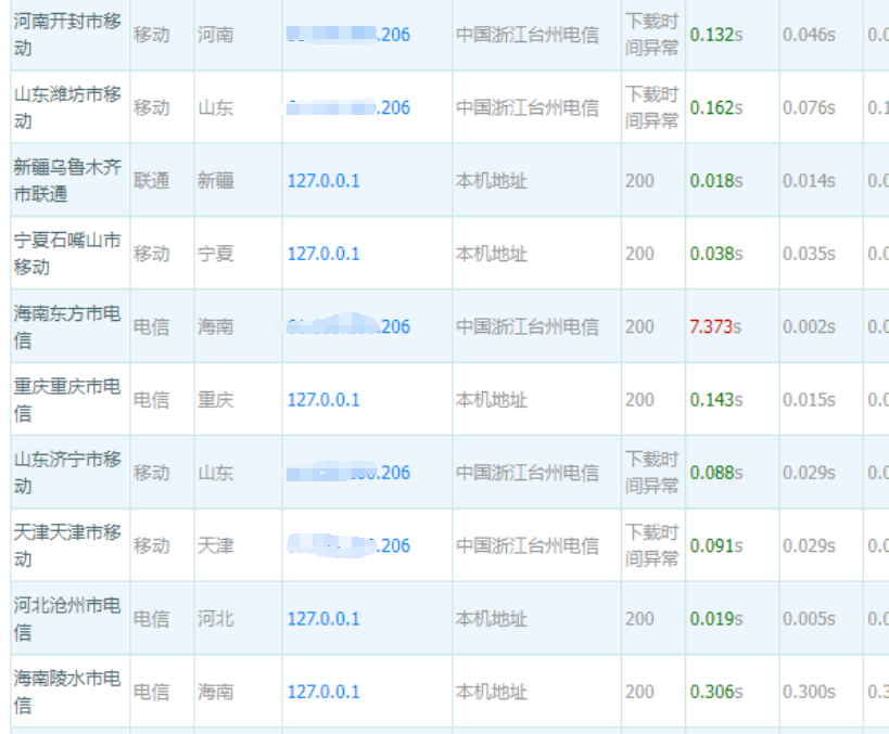
现象:有的地方可以访问,有的地方不能访问。不能访问的地方ping域名解析到了127.0.0.1或者0.0.0.0。如图:

原因:
大概率是因域名涉及违规应用,被对应运营商进行了阻断。根据我司经验,一般是涉诈、涉赌、涉黄等情况被阻断。
查询被阻断原因:
可通过网站:https://www.110.cqqgsafe.com/ 查询,支持域名或IP。
可通过微信小程序:净网云剑查询,支持域名或IP。
注意并不是所有阻断的域名都能查到。
解决方案:
如通过小程序:净网云剑能查询到具体原因,可尝试申诉。
如查不到具体阻断情况,或无法申诉,建议更换域名。并自行审核网站,可能什么原因被阻断,然后进行调整。
如果是自己本地无法访问,只希望解决自己本地无法访问的问题,可以通过修改hosts文件来解决。先进入C盘找到这个文件C:\Windows\System32\drivers\etc\hosts



添加正确的IP和域名,然后保存,就可以正常访问了。也可以尝试修改自己本地的DNS,然后测试是否能正常访问。
如何修改hosts
比如我需要www.baidu.com 这个域名能解析在192.168.2.2 那么就这样写(IP和域名之间要空格隔开)
192.168.2.2 www.baidu.com
参考图片:

保存这个文件。
然后可以通过cmd , ping www.baidu.com 可以看到是解析在192.168.2.2 这个IP上说明hosts 指向成功了。
![]()